Wenn sie so etwas wie dlss hat, eigtl kein Problem, oder?
DLSS ist von Nvidia - AMD muss der beweisen, dass sie sowas auch können.
E, das große Mysterium Navi Plattform.
Ich werd jetzt wahrscheinlich wieder wie der größte Apologet daherkommen, aber das ist halt einfach so eine Null-Meldung die jetzt von den Medien wieder aufgebauscht wird weil halt grad News-Sommerloch ist.
Nanonaned wird die PS5 bei einem Multiplattform-Titel welcher auf der XSX wahrsch. native 4k anpeilt „Probleme“ haben die Auflösung bei selben FPS zu erreichen. Wäre ja illusorisch zu denken, dass die 20% TF-Unterschied keinerlei Auswirkungen haben.
Außerdem hat der PS5 Reveal gezeigt, dass alle Titel bis auf Sackboy und Village in nativen 4k (oder nicht unterscheidbar reconstructed "faux k) auf PS5 Hardware gelaufen sind.
Ganz davon abgesehen bin ich noch immer der Meinung, dass native 4k absolute Ressourcenverschleuderung sind und der Marketingeffekt die negativen Aspekte nicht wirklich aufwiegt.
CBR, Insomniacs temporal injection, DLSS2.0, DirectML und wie sie noch alle heißen haben sehr schön gezeigt, dass sich Unterschiede teilweise nur bei 200% Zoom ausmachen lassen bzw. sogar bessere/nicht unterscheidbare Bilder liefern als native Auflösung.
…und bevor einer mit RDR2 auf PS4 kommt…nur weil Rockstar anscheinend unfähig ist und es ein einziges Beispiel besch…eidener CBR Implementierung ist, kann man die Vorteile von Reconstruction nicht so einfach vom Tisch fegen.
Checkerboarding war schon ganz gut. Das Upscaling Der PS5 wird sicher noch besser. 4k nativ, ist definitiv Ressourcen-Verschwendung und Terflops sagen nichts aus. Viel interessanter finde ich nach wie vor die SSD und den Throughput, den die PS5 schafft. Und auch die Tatsache, dass Sony, von Beginn an, eine echte neue Generation einläutet. Cross-Gen machen zu müssen, ist hingegen definitiv ein Nachteil. Die Entwicklung dauert länger und viele Ideen können nicht umgesetzt werden.
Ob Multiplatform-Games auf der XSX besser aussehen… mag sein. Die Unterschiede sieht man vermutlich aber eh kaum. Und am allerbesten werdens eh auf einem Gaming-PC aussehen. Richtig rocken werden auf der PS5 sowieso wieder die Firstparty und Exklusivspiele. Das war ja auch in der aktuellen Gen nicht anders. Kaum ein Multiplatformspiel konnte da mithalten, PC-Versionen ausgenommen.
Cross gen macht aber nicht nur ms, sondern wohl generell noch Multiplattformentwickler.
Und ob die PS5 zu Launch gleich die Wände der currentgen einreißt… das müssen sie auch einmal zeigen. Das bisher gezeigte tut das nicht.
Natürlich werdens am Anfang keine Wände einreißen. War ja immer so.
Ich mag mich noch erinnern wie Sony bei der PS4 zu Beginn auf den 1080p rumgeritten ist, wenn die Xbox One nur 900p hatte bei einem Spiel, von der klickgierigen Presse gerne unterstützt. Bei 4k ist nativ plötzlich nicht mehr relevant. 
Btw. die Switch zeigt aktuell gut, viele Bildpunkte sind nicht alles.
Du sagst es. Und natürlich ritt Sony damals darauf herum. Jetzt tut es MS. Aber für mich ist und war das irrelevant. Was für mich zählt, sind die Spiele die ich auf einer PS5 bekommen werde. Und technisch finde ich SSD usw. weitaus spannender, als irgendwelche Pixelzählereien.
Naja, bei aufwendigen Spielen hast auf der Swi schon einen merkbaren pixelbrei. Also ich würd mich da über eine höhere Auflösung hier nicht beschweren. Nintendo’s Konsole hat ja drs so richtig populär gemacht.
SSD hat die Xbox auch und ein Spiel, das die noch schnellere SSD braucht musst mir noch zeigen. (Ich Stelle Mal die freche Behauptung auf, dass Ratchet & Clank auch auf der XSX möglich wäre
)
Vielleicht wäre es möglich, mag sein. Und ich finde es sowieso toll, dass beide Konsolen eine schnelle SSD haben, auch wenn die PS5 SSD doppelt so schnell ist. 
Das Problem ist aber bei den First-Party-Spielen der XSX, der ersten 1 - 2 Jahre, dass die SSD da maximal schnellere Ladezeiten bringen kann. Schließlich müssen die Xbox Games auch auf der aktuellen Gen laufen. Da musst einfach die lame Harddisks miteinbeziehen.
Vielleicht zu Beginn eh alles nicht so wichtig, wer weiß. Dennoch glaube ich, dass Cerny und Sony sich viel bei der Architektur der Konsole gedacht haben und das ist schon sehr spannend.
John Linneman von Digital Foundry schrieb auf Twitter:
„Niemand will mehr für eine untermotorisierte Jaguar-CPU entwickeln. Ich habe mit genügend Entwicklern gesprochen, um zu wissen, wie schmerzhaft der Prozess zu diesem Zeitpunkt ist. Lasst die Xbox One und die PlayStation 4 hinter euch.“
Ich finde der Mann hat recht. 🤷
Diminishing Returns und so weil halt Auflösungssprünge im höheren Pixeldichtebereich ab einem gewissen Abstand für das menschliche Auge kaum mehr auszumachen sind.
720/900p VS. 1080p sehr wohl
1900p CBR VS. 4k eher schwer
Außerdem schlagen sich auch 40% TF-Unterschied bei 1-2TF Gesamtpower halt komplett anders nieder als 20% im oberen TF Segment bei hohen Auflösungen. (siehe zB. auch Unterschiede XOX gegen Pro)
Noch einmal: alle, bis auf Sony, entwickeln noch „doppelt“, also auch für die jetzigen Konsolen, sofern sie ihre Spiele nicht als Nextgen-Titel angekündigt und von Grund auf für die neuen Architekturen entwickelt haben.
Ein Cyberpunk ist im Herzen noch Currentgen, ebenso ein asscreed valhalla, watch dogs Legion, FIFA 21
… wobei, selbst ein spidey 1.5 ist noch currentgen im Herzen.
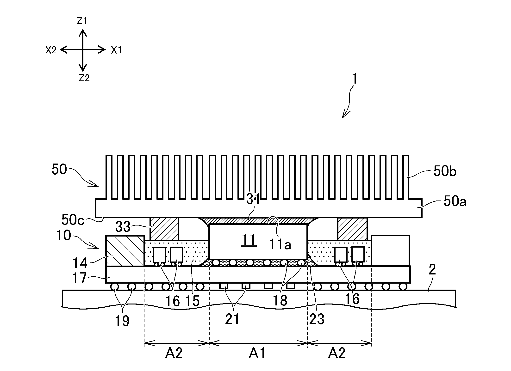
PS5 APU wahrscheinlich mit Flüssigmetall Wärmeleitpaste.
https://patentscope.wipo.int/search/en/detail.jsf?docId=WO2020162417&tab=FULLTEXT&_cid=P20-KDUB59-01124-1
GamersNexus (der immer wieder mal angedeutet hat, dass die Kühlung cool wird [pun intended]) „bestätigt“
https://mobile.twitter.com/anexanhume/status/1294314931047849987
Dh eine jede PS5 hat einen Terminator T-1000 in sich😁
Ich warte auf die Version mit T-X 
Ok, spannend. Flüssigmetall leitete die Wärme erheblich besser ab, als alle anderen Wärmeleitpasten. Vor allem bei übertakten Chips. Ergibt Sinn. 
